资源应用操作指南
1、登录
1) 广东省基础教育网登录
输入网址: http://zy.gdedu.gov.cn,点点击首页的活动宣传链接,进入活动宣传页面,输入“和教育”账号、密码,选择教师所在地区,角色选择“教师”,填写验证码,点击“登录”按钮(如图1.1.1),即进入到我的同步课堂首页。

2) 同步课堂网络教学平台(即和教育平台)
输入网址http://www.ydxxt.com,输入“和教育”账号、密码,点击“登录”(如图1.2.1),进入后,将鼠标放到顶部导航栏的“应用”,在下拉菜单中点击“同步课堂”(如图1.2.2)即进入到我的同步课堂首页。


2.发送辅导短信
1)点击左侧导航栏中的“学生家长”,即可给全班、部分或个别学生的家长发送辅导短信(如图2.1.1)。

2) 教师向学生发送资源的同时,向家长发送辅导短信(详见下文“3、发送资源”)。教师向学生发送资源时,系统会根据教师发送资源的内容,给出匹配的辅导短信,教师可以将系统匹配的辅导短信直接发送给家长,也可以自行修改短信内容或重新编写短信内容发送给家长(如图2.2.1至2.2.2)。


3、发送资源
教师可通过以下三种方式发送资源给学生:
1)点击首页左边导航栏中的“推送资源”,选择好要发送的学科、分类进行发送(如图3.1.1至3.1.2)

2) 点击首页左边导航栏中的“我的资源”进行发送(如图3.2.1)。

3)在打开的资源标题右侧或资源右下方,点击“发送”即可(如图3.3.1)。

4、发送资源阅读数
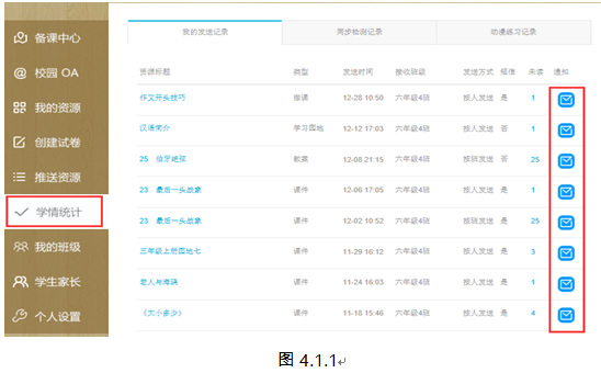
教师向学生发送资源后,可通过点击首页左边导航栏中的“学情统计”查看学生是否阅读,如没有阅读,可通过点击“通知”提醒家长督促学生阅读。只有教师授课班级的学生点击阅读教师发送的资源,才会计算为教师“发送资源阅读”的人数(如图4.1.1)。

5、家校协同教学
家长可以在手机上输入下载地址:http://gdhjy.cn 进入到手机客户端下载界面(如下图5.1.1">,进入到手机客户端下载界面(如下图5.1.1),以苹果系统手机为例,点击“立即下载”,进入到App Atore中的客户端下载页面,点击“获取”(如下图5.1.2)进行安装。

安装完成后,点击桌面的“和教育”图标,进入到“和教育”客户端登录页(如下图5.1.3),输入“和教育”账号、密码,

点击“登录”进入到家长个人首页,点击“学习”中的“学习订购”,进入到应用页面(如下图5.1.4、图5.1.5),点击“同步课堂”(如下图5.1.6)即可进入“同步课堂”。

家长还可以通过互联网登录“和教育”:http://www.ydxxt.com/首页扫描下载客户端(如下图5.1.7)。

